Часы Project Glass от Google — Первый сайт об играх без цензуры

Вернуться   Первый сайт об играх без цензуры > GLADpwnz > Две чашки чаю господам!
Войти через соц. сети

Две чашки чаю господам!



Ответ
 
Опции темы Опции просмотра
Старый 04.10.2012, 20:26   #1
Epsilon
Админ
 
Аватар для Epsilon

Награды Олдфаг Поцан 7 уровня Нереально Четкий Пацан I степени
Постер III степени Герой Новостей


Отправить сообщение для Epsilon с помощью Skype™
По умолчанию Часы Project Glass от Google

Нажмите на изображение для увеличения
Название: Google-Project-Glass-Sees-the-Future-of-Augmented-Reality.jpg
Просмотров: 78
Размер:	55.2 Кб
ID:	65706

Google прям таки не уймется, этой команде все хочется изобрести, создать что-то эдакое, дабы от одного лишь упоминания об устройстве всех распирало на части. На этот раз Google решила дать жизнь портативным компьютерам, полезных в быту тем самым запатентовав часы в стиле Project Glass. Напоминать что это такое и с чем его есть надеюсь не нужно. Видимо одних очков им стало мало вот они решили целую линейку наштамповать, но по словам некоторых журналистов часы будут намного удобней и компактней своего предшественника, а в плане продаж намного востребованней.

Нажмите на изображение для увеличения
Название: ñèñüêè-êîò-êîòý-êèñêà-ïåñî÷íèöà-62370.jpg
Просмотров: 102
Размер:	32.7 Кб
ID:	65705

Если углубиться в характеристики часов, то можно найти некое сходство с выпущенными ранее Smart-часами от Sony. Исходя из этого Google предстоит не легкий путь, ведь публика уже впитала некое подобие часов и чтобы удивить всех нас нужно сотворить что-то из жанра фантастики, однако Google не левая компания и на все 100% выполнит свою задачу. В интернете на данный момент информации мало, но все что смог я накопал.

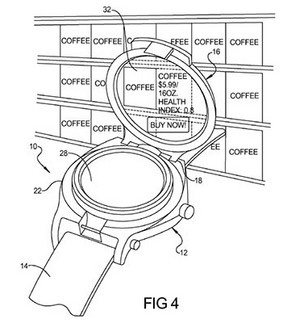
Project Glass - некий мини-смартфон вмещающий в себе службу оповещения о новых SMS, звонках. Так же, позволяет просматривать нужную нам информацию о местности и это лишь поверхность часов. Откидная крышка даст возможность правообладателям лицезреть маленький дисплей позволяющий расширить возможности устройства.

Название: 01-Google-Smart-Watch.jpg
Просмотров: 227

Размер: 29.7 Кб

Откидной дисплей предположительно будет неким прозрачным экраном, позволяющий просматривать сквозь него интересующую нам информацию, то бишь, сведения о ближайшем баре, супермаркете или любом другом здание. Моментальный перевод вывески, текста на стене попавшийся нам не глаза во время пути и.т.д. Более того, если вдруг вы заблудились где-то в районе Бутово, то с легкостью сможете найти дорогу домой благодаря пошаговой инструкции, но вот вернетесь ли вы живым это уже зависит от вас. На самом деле возможности безграничны, но смогут ли Google воплотить все это в жизнь? Остается лишь ждать новой, подробной информации от первоисточников.
Epsilon вне форума   Ответить с цитированием
4 пользователя(ей) сказали cпасибо:
kinda_high (06.10.2012), Mickey (05.10.2012), MOBYslim (04.10.2012), saint_kaban (05.10.2012)
Старый 04.10.2012, 20:42   #2
MOBYslim
Участник форума
 
Аватар для MOBYslim

Награды Олдфаг Поцан 8 уровня Реальный Пацан I степени
Постер II степени Тупой флудер Форумный тролль
Злостный флудер Мужицкие победы


Отправить сообщение для MOBYslim с помощью ICQ Отправить сообщение для MOBYslim с помощью Skype™
По умолчанию Re: Часы Project Glass от Google

скоро как в фильме "Дети шпионов" будем ходить
MOBYslim вне форума   Ответить с цитированием
Пацан посмеялся над этим сообщением:
Epsilon (04.10.2012)
Старый 04.10.2012, 20:43   #3
Epsilon
Админ
 
Аватар для Epsilon

Награды Олдфаг Поцан 7 уровня Нереально Четкий Пацан I степени
Постер III степени Герой Новостей


Отправить сообщение для Epsilon с помощью Skype™
По умолчанию Re: Часы Project Glass от Google

Цитата:
Сообщение от CH*NikSlim Посмотреть сообщение
скоро как в фильме "Дети шпионов" будем ходить
Лол, когда писал о том же подумал
Epsilon вне форума   Ответить с цитированием
Старый 04.10.2012, 21:06   #4
[AZE] Azeri*Ata
РАКООБРАЗНЫЙ
 
Аватар для Azeri*Ata

Награды Олдфаг Поцан 10 уровня Реальный Пацан II степени
Постер I степени Школоло Шаурма
Мужик блиа! Злостный флудер Тупой флудер


По умолчанию Re: Часы Project Glass от Google

В рассие такие нахуй не кому не нужны будут!!!
__________________

Azeri*Ata вне форума   Ответить с цитированием
Старый 04.10.2012, 21:58   #5
MOBYslim
Участник форума
 
Аватар для MOBYslim

Награды Олдфаг Поцан 8 уровня Реальный Пацан I степени
Постер II степени Тупой флудер Форумный тролль
Злостный флудер Мужицкие победы


Отправить сообщение для MOBYslim с помощью ICQ Отправить сообщение для MOBYslim с помощью Skype™
По умолчанию Re: Часы Project Glass от Google

Цитата:
Сообщение от Azeri*Ata Посмотреть сообщение
В рассие такие нахуй не кому не нужны будут!!!
ну как это никому? а если в бутово заблудишься?
MOBYslim вне форума   Ответить с цитированием
Старый 04.10.2012, 22:09   #6
Epsilon
Админ
 
Аватар для Epsilon

Награды Олдфаг Поцан 7 уровня Нереально Четкий Пацан I степени
Постер III степени Герой Новостей


Отправить сообщение для Epsilon с помощью Skype™
По умолчанию Re: Часы Project Glass от Google

Кстати, на правах рекламы спасибо Kalash'у за помощь
Epsilon вне форума   Ответить с цитированием
Пользователь сказал cпасибо:
kinda_high (06.10.2012)
Пацан посмеялся над этим сообщением:
kinda_high (06.10.2012)
Старый 04.10.2012, 22:13   #7
Зевс
 
Аватар для Зевс

Награды Олдфаг Поцан 9 уровня Нереально Четкий Пацан I степени
Постер II степени Турбогнев. Петросян
Креативный автор Задрот Герой Новостей
Горячая голова Сексапильная попка Злой модер


Отправить сообщение для Зевс с помощью ICQ Отправить сообщение для Зевс с помощью AIM Отправить сообщение для Зевс с помощью Yahoo Отправить сообщение для Зевс с помощью Skype™
По умолчанию Re: Часы Project Glass от Google

Спасибо серфинбёрду за это
__________________
Зевс вне форума   Ответить с цитированием
Старый 05.10.2012, 07:24   #8
Epsilon
Админ
 
Аватар для Epsilon

Награды Олдфаг Поцан 7 уровня Нереально Четкий Пацан I степени
Постер III степени Герой Новостей


Отправить сообщение для Epsilon с помощью Skype™
По умолчанию Re: Часы Project Glass от Google

Цитата:
Сообщение от ЗЕВС Посмотреть сообщение
Спасибо серфинбёрду за это
Што?
Epsilon вне форума   Ответить с цитированием
Старый 05.10.2012, 12:44   #9
*
Директор интернета.
 
Аватар для *

Награды Олдфаг Поцан 5 уровня Постер III степени
Тупой флудер Дохуя Умный Анонимус
Злостный флудер


По умолчанию Re: Часы Project Glass от Google

Нхй надо.
только красные и збс.Мужик
__________________
* вне форума   Ответить с цитированием
Ответ


Здесь присутствуют: 1 (пользователей: 0 , гостей: 1)
 

Ваши права в разделе
Вы не можете создавать новые темы
Вы не можете отвечать в темах
Вы не можете прикреплять вложения
Вы не можете редактировать свои сообщения

BB коды Вкл.
Смайлы Вкл.
[IMG] код Вкл.
HTML код Выкл.

Быстрый переход


Текущее время: 07:48. Часовой пояс GMT +5.


Powered by vBulletin® Version 3.8.4
Copyright ©2000 - 2026, Jelsoft Enterprises Ltd. Перевод: zCarot
Кто скопирует информацию с данного портала без ссылки на него, тот лох ибаный! \m/