Жители Китая негодуют. Технологии будущего от Intel и Sony — Первый сайт об играх без цензуры

Вернуться   Первый сайт об играх без цензуры > GLADpwnz > Новости GLADpwnz > Новости всего и вся
Войти через соц. сети


Ответ
 
Опции темы Опции просмотра
Старый 29.12.2012, 16:04   #1
[^^] MarTseff
Участник форума
 
Аватар для MarTseff

Награды Олдфаг Поцан 2 уровня Реальный Пацан III степени
Задрот Горячая голова С.Л.АВА
Мужик блиа!


Post Жители Китая негодуют. Технологии будущего от Intel и Sony

Нажмите на изображение для увеличения
Название: china-01.jpg
Просмотров: 568
Размер:	34.0 Кб
ID:	71830

То, что в Китае грядут изменения в сфере прав пользования интернетом, говорилось еще с самого лета, и вот, получите и распишитесь. Сегодня власти Китая ввели в законодательство новые поправки. Эти поправки заставляют жителей КНР вводить свои официальные паспортные данные для коннекта к глобальной сети, и неважно с чего вы будете влезать в интернет с 3G модема или же, используя широкополосной доступ.

Помимо внедрения этой системы для частных пользователей, выходящих в интернет дома, к примеру, то теперь если вы захотите подключиться к глобальной сети в клубе/интернет кафе, вам также потребуется вводить информацию, подтверждающую вашу личность. В свою очередь интернет-провайдеры обязуются создать максимально защищенную систему, обеспечивающую детальное сохранение информации всех пользователей. Интернет-юзерам разрешается пользоваться никнеймами на онлайн-ресурсах. Однако в свою очередь провайдеры должны будут выявлять всякую нелегальную информацию, несущую вред: способы изготовления наркотиков, детскую порнографию и т.п., передавать в службу охраны правопорядка.

Со слов государственных представителей, это мероприятие нацелено на повышение безопасности данных в интернете, защиты законных прав и интересов граждан, организаций, а также для улучшения общей защиты национальной безопасности и интересов общества.

Нажмите на изображение для увеличения
Название: 84612.jpg
Просмотров: 499
Размер:	97.1 Кб
ID:	71831

Известнейшая компания Intel тоже не теряла время в этом году зря и практически недавно зарегистрировала патент на новую технологию, которая спасет не один десяток хрупких предметов, а также ног и рук игроманов. Эта технология будет предостерегать своих игроков от того, чтобы они не напарывались на различные предметы во время игрового процесса. Когда появились эти самые контролеры, типа Wii, Move, и Kinect, многие люди, чрезмерно увлекшись игрой, частенько сшибали какие-либо предметы интерьера, а порой даже и собственную аппаратуру, включающую в себя телевизоры и сами консоли. Большинство попыток детей, а порой и взрослых, жаждущих пройти уровень, заканчивались смехом, выговором от мамы, а порой более печально – поломанными контролерами, телевизорами, консолями.

Так вот, чтобы этого самого не происходило, на днях Intel зарегистрировали новый патент под названием “Игровая система с функциями безопасности”. Компания вовсе не метит на авторство, закрепленной на них консолью в номинации “Лучшая консоль года”, это не так. Они хотят изобрести многоядерный процессор, который сведет возможность происхождения ситуации вашего столкновения с консолью и окружающим пространством во время игры к минимуму.

Нажмите на изображение для увеличения
Название: 84613_w625_h351_f.jpg
Просмотров: 559
Размер:	29.1 Кб
ID:	71832

Это устройство будет обладать несколькими сенсорами, отвечающими за захват движений и положения игрока в пространстве сообразно с Kinect, и наблюдать за тем, чтобы вы не въебались в какой-нибудь сраный кактус величиной с ваш рост, играя в CoD или, случайно не пнули свое кота, когда будете бить пенальти в FIFA. Процессор Intel будет всегда следить за вашим местоположением и то, на каком расстоянии вы находитесь от посторонних предметов, дабы предотвратить ваше столкновение с предметами. Если же вы слишком близко будете находиться рядом с каким-то препятствием, то игра будет остановлена, уведомив вас на экране о причине произошедшего. Стоит заметить, что из описания возможно будущей технологи Intel ясно, что это будет защищать своих пользователей контролеров без контролера, а этому на данный момент соответствует только Kinect. Либо это дезинформация, распространяемая самой компанией, либо у Intel имеются наработки такого уровня, которые сейчас неизвестны широкой аудитории людей.

Однако как бы там ни было, ранее в интернете уже бывали слухи о то, что Sony разрабатывает контроллер последнего поколения, которому будет под силу определить температуру тела человека, его выражение лица, тон голоса, эмоции и задействовать это все определенным образом в игровом процессе

Нажмите на изображение для увеличения
Название: 14044dbbeabc8c02dad12281fdd52691.jpg
Просмотров: 529
Размер:	24.1 Кб
ID:	71833

В уходящем 2012 году компания Sony запатентовала несколько технологий, связанных с камерой, умеющей может анализировать 3D-пространство, что-то вроде Kinect. Недавно, точно не помню, но вроде бы на этой неделе на просторах интернета уже мелькала информация о том, что верные рабы япошек в подполье трудятся над одним из новых патентов, который должен не просто поравняться вплотную и переплюнуть Kinect по своим техническим возможностям. На ниже представленной картинке видно, что вы сможете использовать свои пальцы для управления виртуальным оружием.

Нажмите на изображение для увеличения
Название: fingerbang.jpg
Просмотров: 530
Размер:	58.2 Кб
ID:	71834

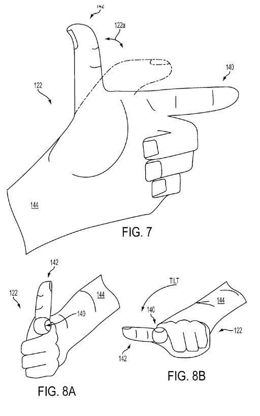
Рисунок 7 демонстрирует то самое движение пальца, распознающееся как выстрел. Вот как будет это выглядеть в действии:

Цитата:
Игрок сможет стрелять или перезаряжать свое оружие при помощи определенных жестов, а изменение положения вашей руки в пространстве будет влиять на положение камеры и оружия в игре.
Когда-то созданный Kinect, да собственно говоря, и по сей день это хит от Microsoft, однако его камера не обладает настолько четким и чувствительным сенсором, который может захватывать движения ваших пальцев. Поэтому стоит отметить, что эта секретная новинка от Sony очень даже годный проект, но все это пока что только на бумаге, в планах, а наряду со всем этим ходили слухи о том, что Kinect 2 также будет обладать этой функцией. Также стоит отметить такую занимательную возможность новой камеры Sony – это определение пространства вокруг игрока при помощи звука. В свою очередь Kinect, как и все его аналоги, для определения расстояния до объектов использует инфракрасное излучения, однако при задействовании звуковой локации можно добиться того же самого и даже большего. Одним из тех плюсов, из-за которых стоит использовать именно последнее является то, что, скорее всего камера сможет видеть пространство за самим объектом и препятствиями, а достигается это все благодаря отражению колебаний звуковых волн. Конечно же, стоит отметить, что точность распознавания вышеописанного будет напрямую зависеть от качества испускания сигнала самим устройством.

Кто знает, быть может и вправду в скором времени, Playstation 4 воплотит в жизнь эту технологию, подарив нам возможность стрелять и управлять своим персонажем в новых частях сериалов Call of Duty или Battlefield не только при помощи кнопок клавиатуры/джойстика, а так же пальцами. По информации членов Playstation Lifestyle, эта консоль должна появиться на свет в конце 2013/начале 2014 года. Кстати эта новость звучит особенно смешно, если учесть тот самый рекламный ролик Playstation Move при участии Кевина Батлера:

Цитата:
Несомненно, то, что Playstation Move будет до жопы точным и уникальным. Но неужели вы и вправду считаете серьезным то, что кому-то захочется притворяться, что его рука – это оружие? Пиу-пиу-пиу-пиу!

Последний раз редактировалось MarTseff; 29.12.2012 в 16:07.
MarTseff вне форума   Ответить с цитированием
17 пользователя(ей) сказали cпасибо:
ПаТлиК (29.12.2012), Daizzy (29.12.2012), DI{rik}MA (29.12.2012), Flaffy (29.12.2012), Holy*AxE (29.12.2012), Kilivo  (30.12.2012), Mr.Р.ы.Ж.и.Й. (29.12.2012), Mudgoren (29.12.2012), N'Dorphin (29.12.2012), No1D_o (29.12.2012), powerubb (29.12.2012), Sckandal_ (29.12.2012), Shemigoth (29.12.2012), Stammy (29.12.2012), Steam22 (31.12.2012), TvinkleToz (29.12.2012), Деловая Колбаса (29.12.2012)
Пацан посмеялся над этим сообщением:
Holy*AxE (29.12.2012)
Старый 29.12.2012, 16:14   #2
Mr.Р.ы.Ж.и.Й.
�?лита
 

Награды Олдфаг Поцан 10 уровня Реальный Пацан I степени
Постер I степени Злостный флудер Фотожопер


По умолчанию Re: Жители Китая негодуют. Технологии будущего от Intel и Sony

Это же заебись! Теперь уебки, которые выебывались в интернете встретят у своей школы много хороших друзей, которых они оскарбили в инете накануне..

У нас так надо сделать, чтоб урезать допуск в мнет личинок младше, ну зотя бы 16 лет, или же если паспорт зареган одного из родителей, выписывать петишку, чтоб папка дал пизды.
Mr.Р.ы.Ж.и.Й. вне форума   Ответить с цитированием
Старый 29.12.2012, 16:21   #3
TvinkleToz
Герой Новостей
 
Аватар для TvinkleToz

Награды Олдфаг Поцан 7 уровня Реальный Пацан II степени
Постер III степени Ля Ванилька Мужицкие победы
Меломан Во имя Глада!


По умолчанию Re: Жители Китая негодуют. Технологии будущего от Intel и Sony

Скоро мы будем заказывать еду из магазинов одним движением пальца. Хотя для меня все это кажется пугающим и не нужным. Сейчас создадут такие технологии, что народ вообще обленится и планете Земля настанет тотальный пиздец...
TvinkleToz вне форума   Ответить с цитированием
Старый 29.12.2012, 16:45   #4
Sckandal_
Offline Gamer
 
Аватар для Sckandal_

Награды Олдфаг Поцан 4 уровня Постер III степени
Анонимус


По умолчанию Re: Жители Китая негодуют. Технологии будущего от Intel и Sony

Бля,ввели бы у нас такую систему как в Китае
__________________
Sckandal_ вне форума   Ответить с цитированием
Старый 29.12.2012, 16:46   #5
MOBYslim
Участник форума
 
Аватар для MOBYslim

Награды Олдфаг Поцан 8 уровня Реальный Пацан I степени
Постер II степени Тупой флудер Форумный тролль
Злостный флудер Мужицкие победы


Отправить сообщение для MOBYslim с помощью ICQ Отправить сообщение для MOBYslim с помощью Skype™
По умолчанию Re: Жители Китая негодуют. Технологии будущего от Intel и Sony

только мышь и клава, только хардкор
MOBYslim вне форума   Ответить с цитированием
2 пользователя(ей) сказали cпасибо:
DI{rik}MA (29.12.2012), Lionson  (29.12.2012)
Пацан посмеялся над этим сообщением:
Holy*AxE (29.12.2012)
Старый 29.12.2012, 16:53   #6
Dark_Stalker
Так и живем
 
Аватар для Dark_Stalker

Награды Поцан 2 уровня Анонимус Нян-Пацан


Отправить сообщение для Dark_Stalker с помощью Skype™
По умолчанию Re: Жители Китая негодуют. Технологии будущего от Intel и Sony

С Китаем определенно не скажешь, хорошо это все-же или плохо. Мое мнение, что интернет все-же должен быть свободным, и не должен стесняться рамками определения личности и стопроцентной достоверности всех данных. Это же маразм, власть сможет полностью контролировать и отслеживать перемещения юзера по сети. Это не круто. Ненене.
__________________
"Когда одни слепо следуют за истиной, помни - ничто не истинно.
Когда другие ограничены моралью или законом, помни - все дозволено"
Dark_Stalker вне форума   Ответить с цитированием
Старый 29.12.2012, 17:02   #7
MOBYslim
Участник форума
 
Аватар для MOBYslim

Награды Олдфаг Поцан 8 уровня Реальный Пацан I степени
Постер II степени Тупой флудер Форумный тролль
Злостный флудер Мужицкие победы


Отправить сообщение для MOBYslim с помощью ICQ Отправить сообщение для MOBYslim с помощью Skype™
По умолчанию Re: Жители Китая негодуют. Технологии будущего от Intel и Sony

Цитата:
Сообщение от Dark_Stalker Посмотреть сообщение
С Китаем определенно не скажешь, хорошо это все-же или плохо. Мое мнение, что интернет все-же должен быть свободным, и не должен стесняться рамками определения личности и стопроцентной достоверности всех данных. Это же маразм, власть сможет полностью контролировать и отслеживать перемещения юзера по сети. Это не круто. Ненене.
Какая тебе разница, знает кто-то что ты с бразерса гейпорно смотришь или не знает? Это сделано с целью, чтоб ты детское хоум-порно не лил в сеть, не договаривался о терракте с ваххабитами. И вообще это ж Китай. Там до сих пор власть советов и свобода голоса только в туалете, и то шепотом.
MOBYslim вне форума   Ответить с цитированием
Старый 29.12.2012, 17:14   #8
TvinkleToz
Герой Новостей
 
Аватар для TvinkleToz

Награды Олдфаг Поцан 7 уровня Реальный Пацан II степени
Постер III степени Ля Ванилька Мужицкие победы
Меломан Во имя Глада!


По умолчанию Re: Жители Китая негодуют. Технологии будущего от Intel и Sony

Цитата:
Сообщение от Sckandal_ Посмотреть сообщение
Бля,ввели бы у нас такую систему как в Китае
А потом будете сами от нее плакать
TvinkleToz вне форума   Ответить с цитированием
Пацан посмеялся над этим сообщением:
Сонебляд (02.01.2013)
Старый 29.12.2012, 18:16   #9
Max Spo
 
Аватар для Max Spo

Награды Олдфаг Поцан 6 уровня Реальный Пацан III степени
Постер III степени


Отправить сообщение для Max Spo с помощью Skype™
По умолчанию Re: Жители Китая негодуют. Технологии будущего от Intel и Sony

Цитата:
Сообщение от TvinkleToz Посмотреть сообщение
А потом будете сами от нее плакать
всякие PRO100PRO будут сидеть в школке. А не в инете. Это радовало бы.
Max Spo вне форума   Ответить с цитированием
Старый 29.12.2012, 18:22   #10
TvinkleToz
Герой Новостей
 
Аватар для TvinkleToz

Награды Олдфаг Поцан 7 уровня Реальный Пацан II степени
Постер III степени Ля Ванилька Мужицкие победы
Меломан Во имя Глада!


По умолчанию Re: Жители Китая негодуют. Технологии будущего от Intel и Sony

Цитата:
Сообщение от Сашка. Посмотреть сообщение
всякие PRO100PRO будут сидеть в школке. А не в инете. Это радовало бы.
С другой точки зрения - да
TvinkleToz вне форума   Ответить с цитированием
Ответ


Здесь присутствуют: 1 (пользователей: 0 , гостей: 1)
 

Ваши права в разделе
Вы не можете создавать новые темы
Вы не можете отвечать в темах
Вы не можете прикреплять вложения
Вы не можете редактировать свои сообщения

BB коды Вкл.
Смайлы Вкл.
[IMG] код Вкл.
HTML код Вкл.

Быстрый переход


Текущее время: 22:15. Часовой пояс GMT +5.


Powered by vBulletin® Version 3.8.4
Copyright ©2000 - 2026, Jelsoft Enterprises Ltd. Перевод: zCarot
Кто скопирует информацию с данного портала без ссылки на него, тот лох ибаный! \m/