Новости из мира железа. — Страница 5 — Первый сайт об играх без цензуры

Вернуться   Первый сайт об играх без цензуры > GLADpwnz > Новости GLADpwnz > Новости всего и вся
Войти через соц. сети


 
 
Опции темы Опции просмотра
Старый 16.08.2012, 22:03   #1
Enough
OneLivesOnlyOnce
 
Аватар для Enough

Награды Олдфаг Поцан 6 уровня Нереально Четкий Пацан III степени
Постер III степени Нян-Пацан Турбогнев.
Мозг Ля Ванилька


Отправить сообщение для Enough с помощью ICQ Отправить сообщение для Enough с помощью AIM Отправить сообщение для Enough с помощью MSN Отправить сообщение для Enough с помощью Yahoo Отправить сообщение для Enough с помощью Skype™
По умолчанию Новости из мира железа.

Здравствуйте, дорогие посетители данного портала, сегодня я попытаюсь несколько скрасить и разбавить ваше однообразное сидение за компьютером тем, что предоставлю вам дебютную для меня подборку свежих новостей из любимого всеми юзерами раздела "железо". Не буду писать нотации, ближе к делу - усаживайтесь поудобнее и приступайте к чтению. Да-да, не к быстрому просмотру картинок и невпопадному комменту в первую минуту, а именно к чтению ;) Сегодня вы узнаете:
  • Mad Catz S.T.R.I.K.E.7 - Клавиатура-трансформер для самых задротистых!
  • У iPad появится серьезный конкурент - планшет Samsung P10.
  • Tata AirPod - автомобиль, работающий за счет сжатого воздуха.
  • Вам надоело, что вы достаете свой телефон "вверх ногами"? - у Google есть решение в виде нового смартфона!

Нажмите на изображение для увеличения
Название: клавиатура.jpg
Просмотров: 185
Размер:	160.4 Кб
ID:	62782

Mad Catz S.T.R.I.K.E.7 - Клавиатура-трансформер для самых задротистых!

Компания Mad Catz, Inc. точно знает, от какой клавиатуры не сможет отказаться ни один современный геймер. Они выпускают новинку - модульную игровую клавиатуру под названием "Mad Catz S.T.R.I.K.E.7", в чьи возможности входит трансформация частей самого девайса в таком порядке, как только будет угодно хозяину.
Изделие включает в себя пять частей. Это:

Нажмите на изображение для увеличения
Название: клав2.jpg
Просмотров: 152
Размер:	112.6 Кб
ID:	62783
  • Привычный нам блок с самой клавиатурой. Имеет светодиодную подсветку, позволяющую вам покорять просторы любимых игр без проблем даже ночью. Так же компании было не обойтись без дополнительных двух комплектов клавиш «W», «A», «S» и «D», - что же, тут, как говорится, на вкус и цвет.
  • Пожалуй, главная особенность клавиатуры - модуль с сенсорным ЖК-экраном и понятным даже ребенку интерфейсом V.E.N.O.M., позволяющим создавать макросы, настраивать подсветку и, собственно, управлять вашей игрой. Так же стоит отметить, что данный девайс имеет поддержку немаловажной технологии TeamSpeak.
  • Модуль Function Strip, способный удовлетворить даже самого искусного задрота WoW количеством своих макро-кнопок.
  • Модуль Numpad, где вы сможете увидеть набор клавиш с цифрами.
  • Целый комлект различных подставок под ладонь и запястья для максимального комфорта.

Цена сего чуда в США составляет $300.

У iPad появится серьезный конкурент - планшет Samsung P10

Если информация, просочившаяся в Сеть, окажется верной, то компании Apple действительно придется плохо, ведь компания Samsung готовит ей достойного конкурента - планшет, получивший название P10. Так же это будет своеобразная месть "самсунгов" ненавистной компании, наделавшей им немало вреда на мобильном рынке.

Нажмите на изображение для увеличения
Название: планш.jpg
Просмотров: 132
Размер:	27.4 Кб
ID:	62781

В действительности, даже у iPad 3 (iPad new) не будет сил тягаться с новинкой - в арсенале Samsung P10 имеется ультрасовременный центральный процессор Exynos пятого поколения, имеющий !как минимум! два ядра и частоту 1,7 ГГц.
Отличительной чертой нового iPad считали его дисплей, но даже тут "яблокодрочеры" sonoooley. Samsung предоставит им 10-дюймовый мультисенсорный тачкрин с разрешением 2560х1600 пикселей и плотностью 256 пикселей на дюйм (ppi).
По части обработки графики ребята из Samsung так же преуспели. Этим займется графический ускоритель нового поколения Mali T604, поддерживающий все требования к данного типа чипам, он может похвастаться технологиями OpenCL, OpenGL и даже DirectX 11, не говоря уже о наличии в нем специальной трехпоточной архитектуры.

Tata AirPod - автомобиль, работающий за счет сжатого воздуха

Компания-автопроизводитель из Индии Tata уверенными шагами идет к выпуску на рынок автомобиля, способного передвигаться за счет сжатого воздуха. В течении последних нескольких лет эта идея не первый раз поднимается в автомобилестроении, но из-за некоторых сложностей не может найти коммерческого воплощения.

Нажмите на изображение для увеличения
Название: авто.jpg
Просмотров: 158
Размер:	119.5 Кб
ID:	62784

Одноместный автомобиль AirPod имеет малый вес и может развивать крейсерскую скорость до 70 км/ч. Вместо газа или электричества, двигатель использует ёмкость со сжатым воздухом, которую можно с легкостью заполнить на станции или используя собственный электрический компрессор.
Облик этого средства передвижения так же имеет очень своеобразный вид, и на это имеются свои причины - это пока экспериментальный малопрактичный автомобиль, созданный исключительно для идеально ровных городских дорог. Защитить эта конструкция вас может разве что от дождя или от ветра. Зато машина не создает вреда окружающей среде и относительно не дорога в своей эксплуатации. Кроме того, заполнить аккумулятор сжатым воздухом намного быстрее, чем заряжать батарею.

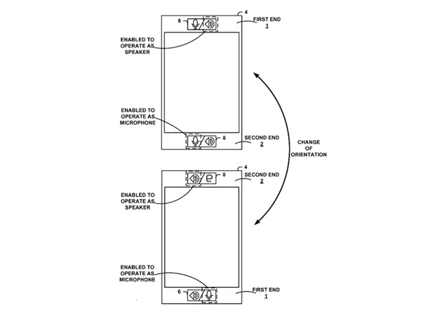
Оригинальный смартфон от Google

Наверное, всем нам знакома ситуация, когда мы второпях достаем телефон перевернутым и начинаем говорить по нему, тем самым подставив микрофон к уху и безуспешно пытаясь говорить в динамик. Если это про вас - не спешите разочаровываться, у компании Google есть решение этой проблемы.

Нажмите на изображение для увеличения
Название: google-phone-patent.jpg
Просмотров: 165
Размер:	23.5 Кб
ID:	62785

Ребята из Google дали патентную заявку на устройство, которое не назвать никак, кроме «смартфон-перевертыш». Телефон будет выполнен в виде уже привычного нам бесклавиатурного моноблока — большой сенсорный экран, сверху и снизу от которого находятся сразу и микрофон, и динамик. Таким образом, выходит, что у такого смартфона нет ни верхней, ни нижней части, и пользователь теперь сможет держать его так, только его душе угодно. ((Если только он не рыжий). Извините, очень хотелось вставить шутку про рыжего, актуально же).
Как вы уже догадались, мобильник может определить свою ориентацию с помощью гироскопа. Получается, что "смартфон-перевертыш" всегда окажется в рабочем состоянии, а его счастливчик-обладатель больше не попадет в нелепое положение.

На этом у меня все, большое спасибо за полное прочтение, новость для меня первая, надеюсь, что не зря потратил 3 часа и оказался полезен вам.

P.S. Я старался
__________________
hope!

Последний раз редактировалось Enough; 17.08.2012 в 11:54.
Enough вне форума   Ответить с цитированием
41 пользователя(ей) сказали cпасибо:
#Emilio (20.08.2012), Растишка™ (17.08.2012), Мальборо (17.08.2012), Сухарик (17.08.2012), Мясной_Батон (17.08.2012), AmiJay (17.08.2012), Arecanderu (18.08.2012), Azeri*Ata (16.08.2012), Bastard (17.08.2012), Chuckie! (16.08.2012), CONF. (16.08.2012), Elantir (18.08.2012), ExQusmio (17.08.2012), Fable_player (17.08.2012), Fasby (17.08.2012), Firsy (16.08.2012), IGL (17.08.2012), JaMpwnz (24.08.2012), Kentyxa (17.08.2012), kinda_high (16.08.2012), Lomosar (16.08.2012), Mickey (17.08.2012), Mogoro (17.08.2012), Mountain Dew (17.08.2012), Muwka (16.08.2012), N'Dorphin (17.08.2012), Neiro12 (16.08.2012), Pavlusha (16.08.2012), Phenomenоn (16.08.2012), Pushistikpwnz (16.08.2012), Req1mForDream (17.08.2012), Samp1er! (17.08.2012), Sevan3 (17.08.2012), Simon :3 (17.08.2012), SpeakSilence (17.08.2012), Tolk (17.08.2012), Twist (16.08.2012), x1xDISELx1x (17.08.2012), [DuR]noI (17.08.2012), [xP]HappyAlex :D (17.08.2012), Хлебная крошкa Енот (16.08.2012)
7 пацан(а) посмеялись над этим сообщением:
#Emilio (20.08.2012), Arecanderu (18.08.2012), IGL (17.08.2012), JaMpwnz (24.08.2012), Lomosar (16.08.2012), Muwka (16.08.2012), Phenomenоn (16.08.2012)
 


Здесь присутствуют: 1 (пользователей: 0 , гостей: 1)
 

Ваши права в разделе
Вы не можете создавать новые темы
Вы не можете отвечать в темах
Вы не можете прикреплять вложения
Вы не можете редактировать свои сообщения

BB коды Вкл.
Смайлы Вкл.
[IMG] код Вкл.
HTML код Вкл.

Быстрый переход


Текущее время: 17:19. Часовой пояс GMT +5.


Powered by vBulletin® Version 3.8.4
Copyright ©2000 - 2026, Jelsoft Enterprises Ltd. Перевод: zCarot
Кто скопирует информацию с данного портала без ссылки на него, тот лох ибаный! \m/